Samsung Electronics hat vor kurzem ein Patent veröffentlicht, welches einen neuen Micro-LED-TV in modularer Bauweise beschreibt. Überrascht uns der koreanische Hersteller bald mit einem neuen Fernseher?
Vorab ein kurzer Hinweis. Selbst wenn dieses Patent durchaus umfangreich und detailliert beschrieben ist (bei einem Patent auch nichts ungewöhnliches), heißt es noch lange nicht, dass Samsung die Entwicklung oder Produktion eines entsprechenden Produkts weiter verfolgt. Oft werden Ideen oder „eingestampfte“ Projekte in ein Patent überführt, nur um diese vor der Konkurrenz zu schützen. Was Samsung uns im Patent W02020116861 „Display Apparatus“ präsentiert, macht uns dann doch neugierig. Laut Kurzbeschreibung soll es sich um ein Panel mit einer gedruckten Leiter-Platine handeln, welches mit mehreren Display-Modulen längsweise bestückt wird. Wem das etwas zu kompliziert war, sollte sich einmal nachfolgende Abbildung ansehen.

Flexibles Bildverhältnis
Die länglichen Micro-LED-Module (A1) haben einen Formfaktor von 1:10 und werden oben und unten mit der Leiter-Platine verbunden. 40 Module würden somit ein 1:1 Bildformat (W1) ergeben. Um 22 Module erweitert ergibt sich das klassische 16:9-Format (W2). Der Formfaktor lässt sich so sogar auf ein 21:9 Ultra-Wide-Display (W3) erweitern.

Die Module bestehen aus Hunderten von Micro-LED-Pixeln, von denen jeder in einzelne rote, grüne und blaue Subpixel unterteilt ist. Wie diese angeordnet sind, darüber ist sich Samsung noch nicht ganz im Klaren. Entweder im Dreieck oder als längliche Pixel direkt nebeneinander. Samsung Electronics erwähnt im Patent auch die Auflösung des Displays. Dieses soll im gebräuchlichen Formfaktor (16:9) 3.840 x 2.160 Bildpunkte, also 4K Ultra HD, betragen. Bei einer erhöhten Pixeldichte soll auch 8K (7.680 x 4.320) möglich sein.
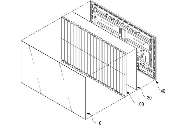
Micro-LED-Display aus vier Komponenten
Die komplette Displaykonstruktion besteht eigentlich nur aus vier Komponenten. Der gedruckten Leiterplatte, eine Anordnungsplatte, auf der die Micro-LED-Module platziert werden können und zuletzt eine transparente Schutzschicht. Letztere verhindert das Eindringen von Staub, Spritzwasser und anderen Fremdkörpern.
Also wir würden uns definitiv freuen, einen 4K/8K Fernseher mit dieser Displaytechnik in einen der nächsten Elektronik-Messen präsentiert zu bekommen. Jedoch stehen die Chancen weitaus besser, dass wir zur CES 2021 erst einmals Samsungs QD-OLED (Quantum Dot OLED) unter die Lupe nehmen dürfen.

